2 Piece SK Slim Shrink Fit Chuck
2 Piece SK Slim Shrink Fit Chuck
Versatile and economical and high runout accuracy
Compact with easy-shrink fitting
kinds of combination space and money saving

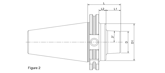
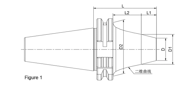
| Size | D | D1 | D2 | L | L1 | L2 | Figure |
| SK30-TSF06-35 | 19 | - | 34 | 35 | 15.9 | - | 1 |
| SK30-TSF08-35 | 23 | - | 34 | 35 | 15.9 | - | 1 |
| SK30-TSF12-35 | 38 | - | - | 35 | 15.9 | - | 2 |
| SK40-TSF08-40 | 23 | - | 50 | 40 | 20.9 | - | 1 |
| SK40-TSF12-45 | 38 | - | - | 45 | 25.9 | - | 2 |
| SK40-TSF12-75 | 38 | - | - | 75 | 55.9 | - | 2 |
| SK40-TSF12-135 | |||||||
| SK50-TSF12-75 | 38 | 65 | - | 75 | 43.9 | 12 | 2 |